按Enter到主內容區
:::
『您的瀏覽器不支援JavaScript功能,若網頁功能無法正常使用時,請開啟瀏覽器JavaScript狀態』
常見問答
網站導覽
搜尋使用說明
回首頁
市府首頁
English
進階搜尋
選單
查詢
公告訊息
最新消息
活動訊息
機關徵才
招標公告
其他公告
政府公開資訊
政府公開資訊
施政計畫
內部控制聲明書
預算與決算書
會計月報
辦理政策宣導之執行情形表
補助私人團體報表
中央各機關補助報表
府級任務編組資訊公開專區
接受捐贈
法令規章
文檔法規連結
遊說法資訊專區
政風相關規定
人民申請案件項目暨期限
相關法規查詢
機關簡介
局長專區
局長介紹
主管介紹
宗旨與願景
各科室簡介
組織架構
基本資訊及業務職掌
交通及停車資訊
榮譽榜
得獎紀錄
施政成績
機關業務
重點業務介紹
市長議會施政報告
業務工作報告
廉潔政風
廉政宣導專區
公務機密及安全維護宣導
請託關說登錄查察專區
消費者保護及反詐騙宣導專區
公職人員財產申報法及公職人員利益衝突迴避法宣導專區
衛生業務補助專區
公益揭弊者保護法宣導專區
消費指南
衛生統計
公務統計方案(含所屬)
公務統計報表
預告統計資料發布時間表(含所屬)
統計刊物
統計分析及通報
性別統計專區
統計相關網站連結
視覺化互動圖表
臺中市主要死因統計
臺中市統計資料查詢平臺
大事記
112年大事記
111年大事記
110年大事記
109年大事記
108年大事記
107年大事記
106年大事記
105年大事記
104年大事記
103年大事記
活動花絮
專業服務
醫事管理
AED專區
安全針具專區
假牙補助計畫
醫院服務
醫事人員、醫事機構
緊急醫療
醫療爭議調解
申請廣告、支援報備流程及申請表單
診所設立資訊包
醫療暴力通報
驗光所設立資訊包
產後護理機構
預立醫療照護諮商查詢
敬老愛心卡
新興醫療科技資訊
傳染病防治
防疫資訊及國際疫情
新冠併發重症專區
急性傳染病
慢性傳染病
預防接種專區
營業衛生專區
外籍移工/看護工健康檢查核備
慢性病及中老年防治
腎臟病
樂齡長青健康檢查
糖尿病
成人預防保健
腦中風防治專區
BC肝炎防治
長者功能評估
代謝症候群
失智症預防及推廣
更年期保健
癌症防治
乳癌
子宮頸癌
大腸癌
口腔癌及檳榔防制
癌症篩檢補助對象及臺中市篩檢醫療院所(子宮頸癌、乳癌、大腸癌、口腔癌、肺癌)
公費HPV疫苗專區
宣導海報及單張專區
肺癌
婦女人類乳突病毒(HPV)檢測
糞便抗原檢測胃幽門螺旋桿菌服務
心理健康
單位介紹
活動資訊
社區心理衛生中心
心理衛生
自殺防治
精神衛生
酒癮防治
家暴性侵
服務機構
臺中市政府毒品危害防制中心
訊息區
單位介紹
服務申請
毒品介紹
宣導專區
相關資源
下載專區
婦幼保健
兒童發展專區
生育保健
新生兒聽力篩檢
母乳哺育
兒童保健
油症服務專區
油症患者就醫注意事項
認識油症
社區營養推廣中心
中心服務介紹
營養資源連結
健康樂活 減重so easy
快樂動
影音專區
菸害防制
執法專區
戒菸服務
煙/菸消雲散 健康相伴-懶人包
資源下載
查詢專區
服務專線查詢
營業衛生/水質
醫療機構查詢
行政相驗
長照服務資源查詢
便民服務
闢謠小幫手
醫事管理
美容醫學資訊專區
敬老愛心卡
急診即時資訊
本市醫療院所門診及假日門診即時查詢
幼兒專責醫師制度
好康服務
生育保健
兒童預防保健
成人預防保健
身障與弱勢族群照護
特定個案身心健康
二代健保報您知
預防冷熱傷害
口腔預防保健服務
我要申辦
服務中心
常見問答
檔案應用專區
檔案研究集錦
專題網站
電子刊物
健康大臺中季刊
健康City Talk 期刊
本局年報及電子書
衛教主軸專區
相關連結
高齡駕駛人駕照管理制度專區
影音專區
台中市:我的保健室
長照服務專區
長照最速報
長照法令規章及解釋函
長照服務法
長照相關解釋函
臺中長照新聞
一般民眾
找長照資源
申請長照服務
失智症防治及照護專區
服務單位
長照特約單位
長照機構管理
長照獎補助計畫
教育訓練及課程
長照人力認證及登錄
違反長期照顧服務法裁處資訊專區
照服員申訴/陳情管道
返回
『您的瀏覽器不支援JavaScript功能,若網頁功能無法正常使用時,請開啟瀏覽器JavaScript狀態』
:::
現在位置
首頁
>
長照服務專區
>
一般民眾
>
申請長照服務
友善列印
當script無法執行時,請點選瀏覽器功能選單檔案/列印來列印網頁
回上一頁
您的瀏覽器不支援JavaScript功能,若網頁功能無法正常使用時,請開啟瀏覽器JavaScript狀態
分享
Facebook
Twitter
LINE
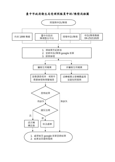
照服員申訴/陳情管道
臺中市政府衛生局受照服員申訴陳情流程圖
照服員申訴/陳情管道:
1.臺中市民一碼通:1999
2.臺中市政府陳情平台(如下相關連結)
3.現場申訴/陳情
4.申訴/陳情專線:04-25211020
檔案下載(或附件)
臺中市政府衛生局受理照服員申訴陳情流程115.03.09.pdf
pdf
335 KB
相關連結(或延伸閱讀)
臺中市政府陳情平台
市府分類:
衛生醫療
最後異動日期:
2026-03-10
發布日期:
2026-03-10
發布單位:
臺中市政府衛生局‧長期照護科
點閱次數:
314
至頁頂